X
  • 能源中国IOS版

  • 能源中国安卓版

  • 陇上孟河

X
您的位置 > 首页 -> 地方

青海2026年机制竞价结果公示:光伏0.227元/度、风电0.24元/度

来源:能源中国客户端 时间:2025-12-12 09:35

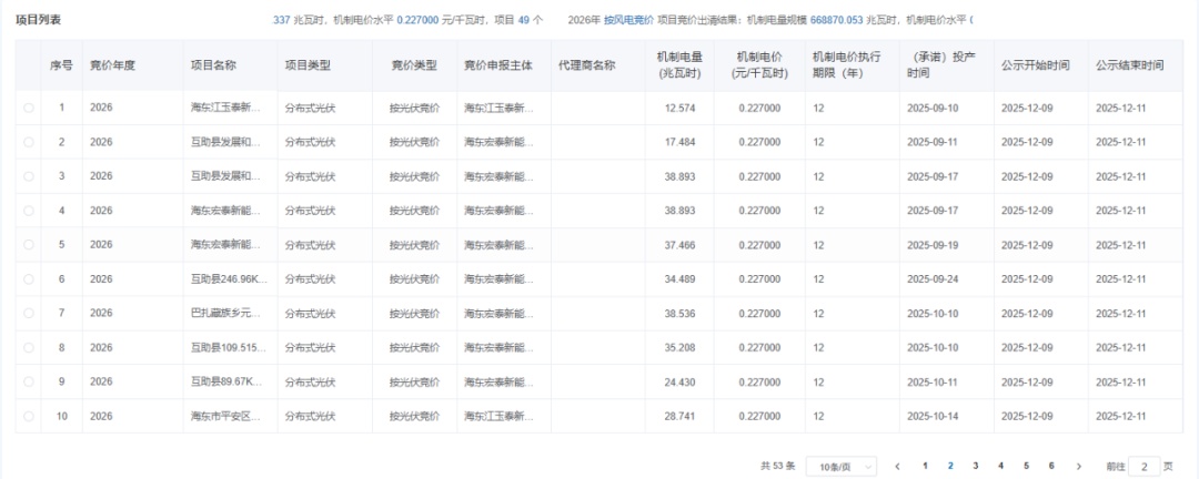
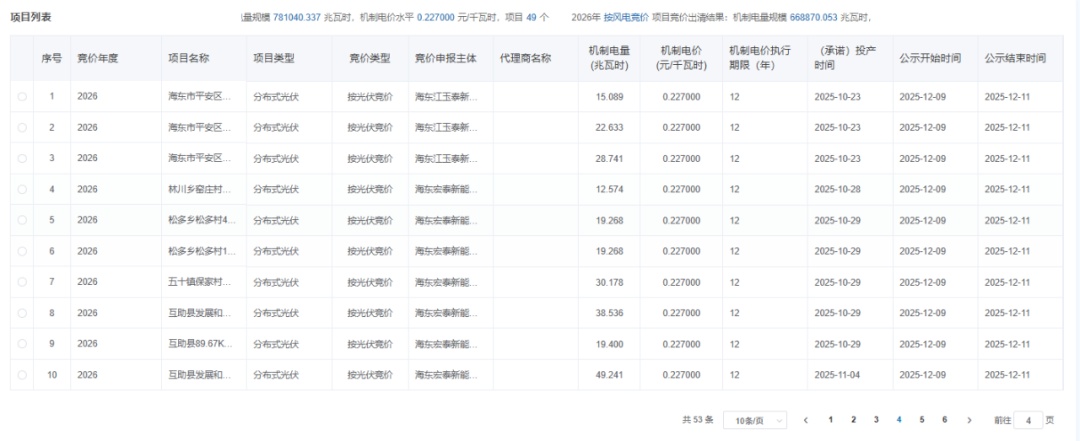
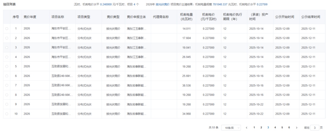
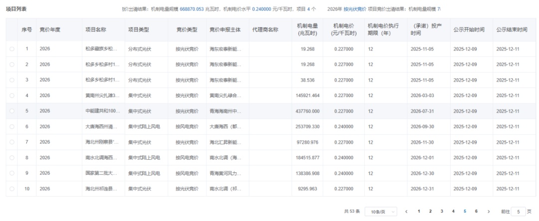
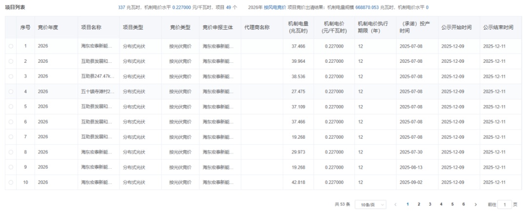
  12月9日,青海公示2026年青海省新能源机制电价竞价结果。

  光伏机制电价0.227元/度,入围项目49个,包含6个集中式光伏项目,机制电量规模781040.337兆瓦时。

  风电机制电价0.24元/度,入围项目4个,机制电量规模668870.053兆瓦时。

  对比2025年青海省新能源机制电价竞价上下限来看,光伏上限由0.24/度降至0.2277元/度,下限由0.18元/度降至0.15元/度;风电则不变。

  光伏机制电价0.24元/度,入围项目23个,机制电量1124999.999兆瓦时;从入围项目来看,包括16个分布式光伏项目,7个集中式光伏。风电机制电价0.24元/度,入围项目4个,机制电量542999.999兆瓦时。

  相关见下:

  责任编辑:江蓬新